Supporting Question

Why does Lonnie Johnson’s story matter?

For the formative performance task, use the sources to answer the following questions:

  • What are the important events in this person’s life? What emotions did this person experience throughout their life?

  • What did this person invent? What other inventions have been done in this area?

  • What do we know about the biases this person faced and how they responded? How did their responses compare to other people of their time?

  • How much—if it all—did the person’s life change after their inventions? Did they receive credit for their invention? Did they profit from it?

  • In what ways did this person address social issues of their day?

Featured Sources

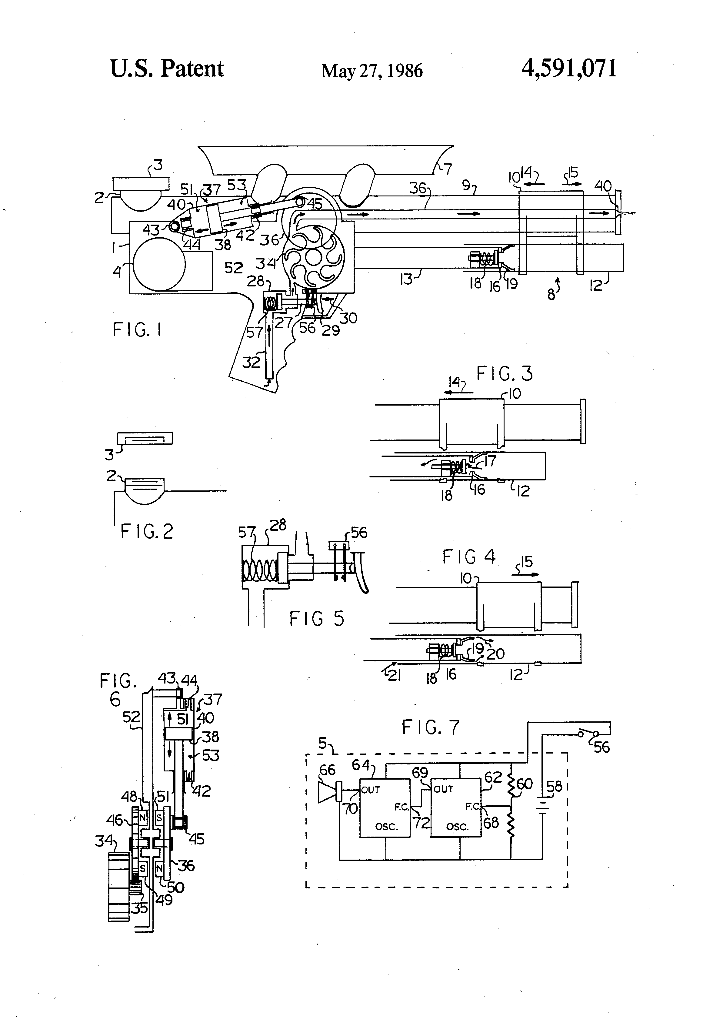
Source A

U.S. Patent 4,591,071, “Application for the Toy Squirt Gun,” 1986

Source B

Whoosh! Lonnie Johnson's Super-Soaking Stream of Inventions, Chris Barton and Don Tate, 2016

Source C

This Day in History, History.com Editors, 2024

On May 27, 1986, the U.S. Patent Office grants a patent to African American inventor Lonnie Johnson for his toy design simply titled ”Squirt Gun.” After a few name changes and additional patents, Johnson’s invention—ultimately re-named the “Super Soaker®”—would become the best-selling water toy of all time, eventually earning its rightful place in the American National Toy Hall of Fame.

Click on “Link to Source C” to watch a 1:02 History.com video.

Source D

Biography and Reddit Present: Super Soaker inventor Lonnie Johnson, Biography, 2018

Source E

Our History, Johnson STEM Activity Center, 2026

In 2005, Dr. Johnson partnered with Dean Kamen (FIRST Robotics) and Bart Sudderth (Millennium Training Systems) to launch a robotics program for underserved youth in Atlanta, donating part of his building for the initiative. The program started with 6 students and one team but grew rapidly. By 2014, over 200 students from multiple teams used the space, and by 2016, 2,000 students participated. Renamed the Johnson STEM Activity Center in 2017, it became a nonprofit, serving over 10,000 students by 2019 with the addition of a modern computer lab.

Source F

“Changing Perspectives Through Perseverance: The Lonnie Johnson Story,” National Inventors Hall of Fame, 2022