Supporting Question

Why does Sarah E. Goode’s story matter?

For the formative performance task, use the sources to answer the following questions:

  • What are the important events in this person’s life? What emotions did this person experience throughout their life?

  • What did this person invent? What other inventions have been done in this area?

  • What do we know about the biases this person faced and how they responded? How did their responses compare to other people of their time?

  • How much—if it all—did the person’s life change after their inventions? Did they receive credit for their invention? Did they profit from it?

  • In what ways did this person address social issues of their day?

Featured Sources

Source A

U.S. Patent 322,177, “Application for the Cabinet Bed,”

1885

Source B

“Women who made legal history: Sarah E. Goode,” D’Angelo Law, 2021

Sarah Elisabeth Goode (1855-1905) was one of the first African-American women to receive a patent from the United States government. She was granted a patent for a folding cabinet bed on July 14, 1885.

Goode was born in 1855 in slavery as Sarah Jacobs, but by 1860, she was living as a free person in Toledo, Ohio. She moved to Chicago in 1870 and, by 1880, was married to Archibald Goode, a carpenter/stair builder. The couple had children, but it's unclear how many.

In order to help Chicago apartment dwellers with limited space in their units, Goode invented a folding bed that would become the precursor to the Murphy Bed - a hide-away bed. It was a cabinet bed which folded into a roll-top desk which had compartments for writing supplies and stationery.

As one author expressed it: " [A] Black woman, Sarah E. Goode, patented a writing desk that unfolded to make a single bed. Goode's invention responded to a late nineteenth-century [Victorian] demand for furniture that served more than one purpose."

In 2012, the Sarah E. Goode STEM Academy, a science and math-focused high school, was opened in her honor on the south side of Chicago. It is part of the Chicago Public Schools Urban Model High School.

Goode's contributions were also recognized by a 2001 Virginia resolution establishing February 25 as a day to celebrate African-American scientists and inventors.

Source C

Sarah E. Goode Stem Academy [Picture]

Sarah E. Goode STEM Academy is located in Chicago, Illinois. The academy is one of only three Early College STEM schools in the Chicago Public Schools District. Sarah E. Goode STEM Academy is dedicated to connecting high school, college, and the world of work to prepare students for the technology jobs of the future.

Note: As there is little information around Sarah Goode, this book may read more like historical fiction. Please note that all actions/conversations may not be historically accurate.

Source D

Sweet Dreams, Sarah, Vivian Kirkfield and Chris Ewald, 2019

Source E

“Meet Sarah Goode: Inventor of the Murphy Bed,” Karen Hunter is Awesome, 2025

Listen to the sections of the podcast from 2:20 - 8:04 and 10:04 - 13:52.

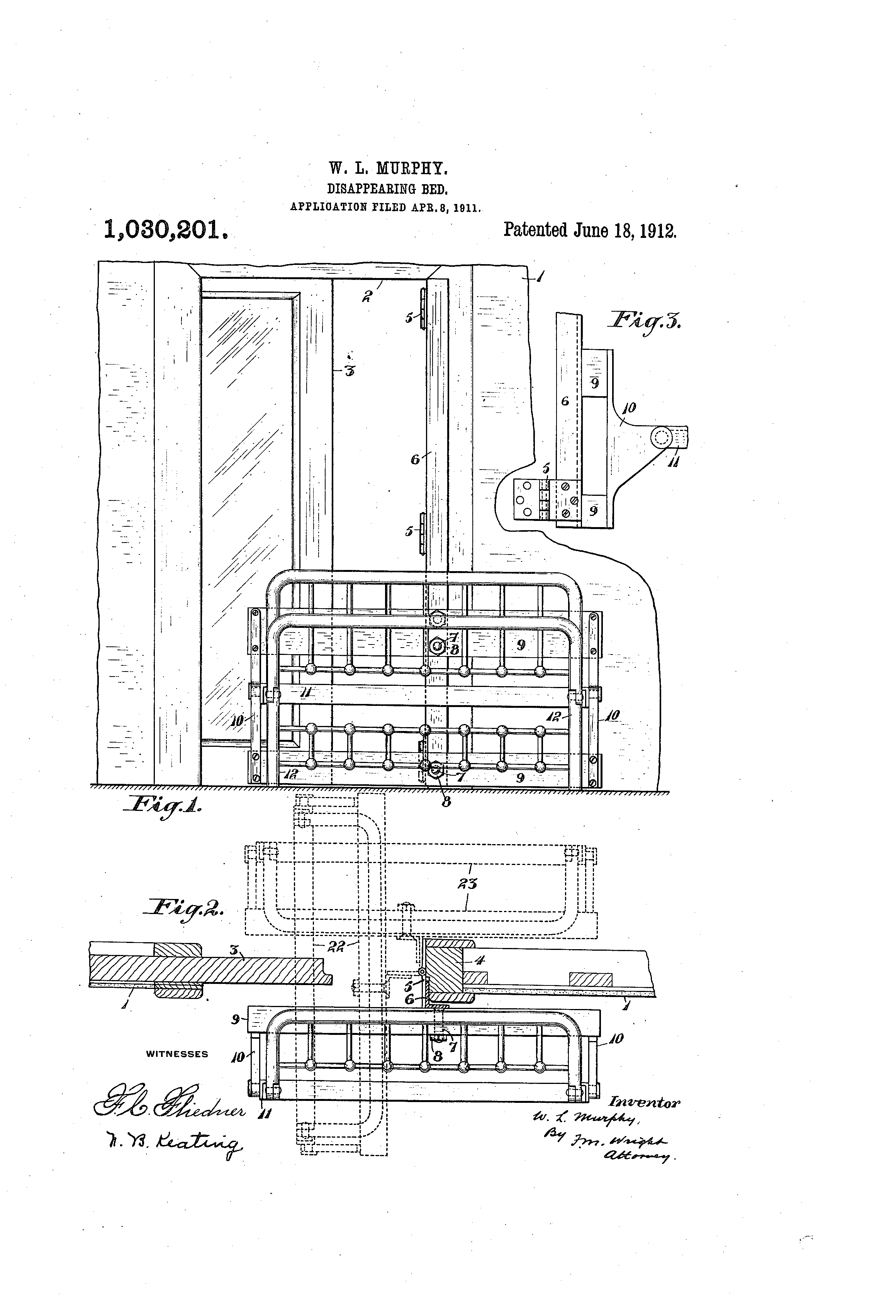
Historical Note 1: Though the title states that Goode invented the “Murphy bed,” her patent was for the cabinet bed. The cabinet bed was a space-saving bed that preceded William Murphy’s later invention of the Murphy bed.

Historical Note 2: Slavery did end in 1865 in Texas with the official enforcement of the Emancipation Proclamation read in Galveston, which is now celebrated as Juneteenth.

Source F

U.S. Patent 1,030,201, “Application for Disappearing Bed,” 1911

The cabinet bed can be considered a precursor to the above disappearing bed (Murphy Bed).