Supporting Question

Why does Marian Croak’s story matter?

For the formative performance task, use the sources to answer the following questions:

  • What are the important events in this person’s life? What emotions did this person experience throughout their life?

  • What did this person invent? What other inventions have been done in this area?

  • What do we know about the biases this person faced and how they responded? How did their responses compare to other people of their time?

  • How much—if it all—did the person’s life change after their inventions? Did they receive credit for their invention? Did they profit from it?

  • In what ways did this person address social issues of their day?

Featured Sources

Source A

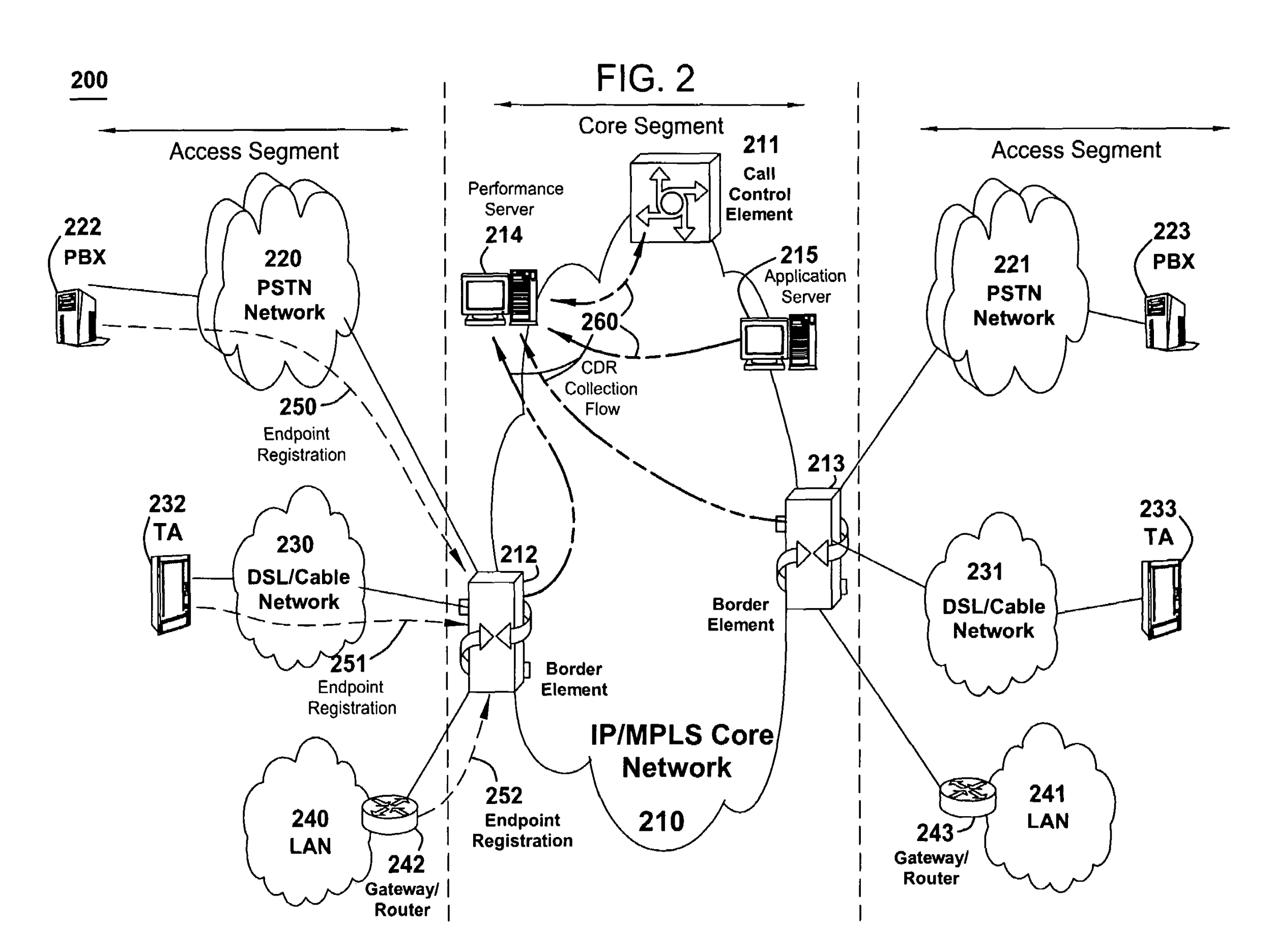
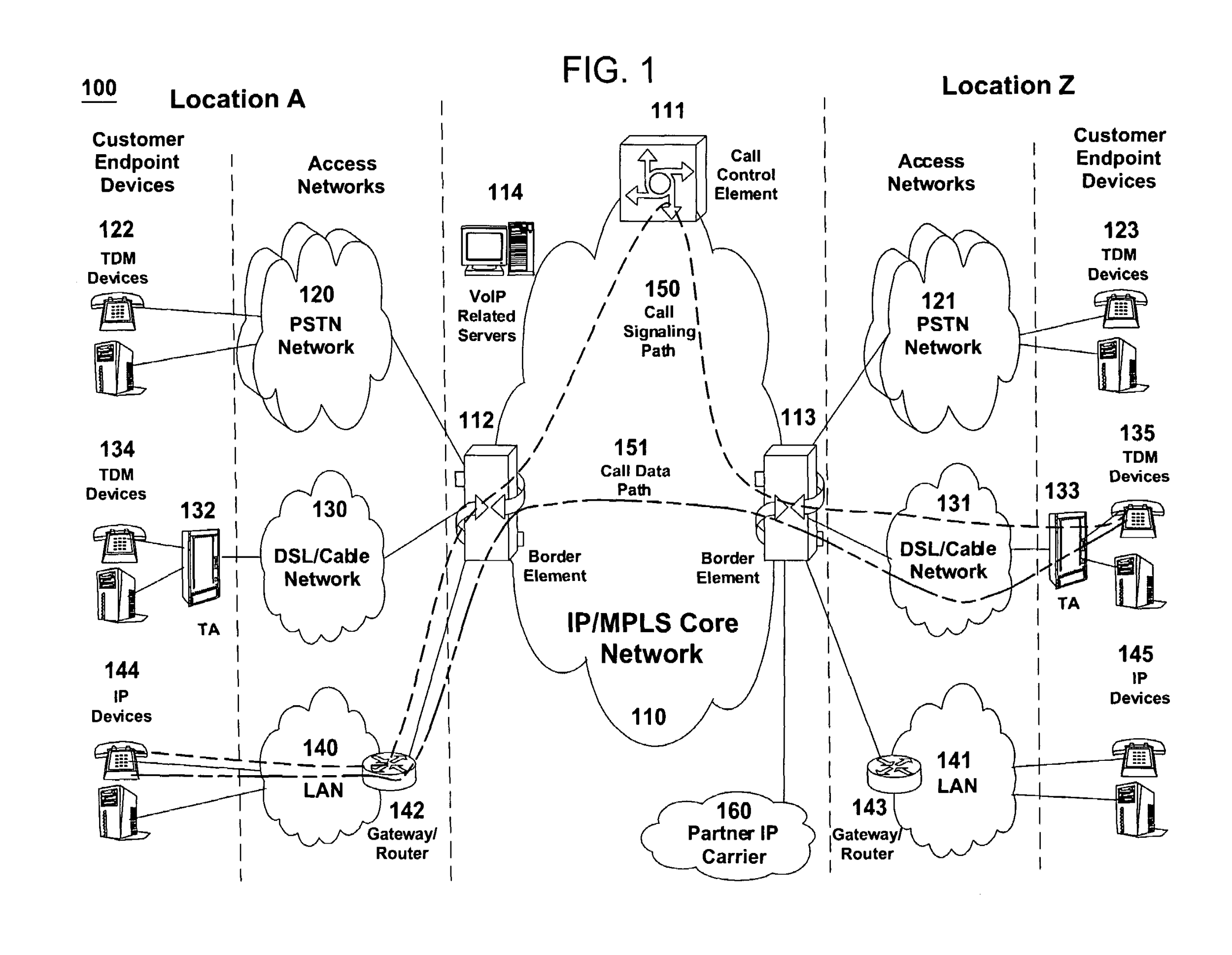
U.S. Patent 7,599,359 “Method and Apparatus for Monitoring End-to-End Performance in a Network,” 2004

FIG. 1 shows what a VoIP network looks like and how its parts are connected.

FIG. 2 shows how the system checks call quality from one end of the network to the other.

FIG. 3 shows the steps used by network devices to gather performance data.

FIG. 4 shows how a Performance Server studies the data to understand how well the network is working.

FIG. 5 shows the basic parts of a computer that can run this system.

Source B

“Change for the Greater Good: The Marian Croak Story,” National Inventors Hall of Fame, 2022

Source C

“Marian R. Croak,” American Academy of Arts and Sciences, 2026

Marian Croak is Vice President in the engineering group at Google. In this role, Croak is responsible for expanding what the Internet is capable of doing around the world and increasing access to the Internet in the developing world.

Croak is a prolific inventor in the voice and data communication fields, with over 200 patents to her name. She is best known for developing Voice Over Internet Protocols (VoIP), technology that converts your voice into a digital signal, allowing you to make a call directly from a computer or other digital device.  

Before Google, Croak served in various positions in voice and data communication for over three decades at AT&T Bell Laboratories. She predicted the rise of the Internet and developed technologies to transform it, including her work to establish the fundamentals of VoIP, develop voice and text messaging on cellular phones, and invent the technology that allows people to send text-based donations to charity. Before leaving AT&T in 2014, Croak held the title of Senior Vice President of Applications and Services Infrastructure. In this position, she supervised over 2,000 computer scientists and engineers and managed over 500 programs.

Croak received her undergraduate degree from Princeton University and her doctorate in social psychology and quantitative analysis from the University of Southern California.

Note: Platforms like Zoom use the technology that Croak pioneered to allow users to speak to each other via the internet.

Source D

“Zoom for Healthcare: One Platform for Care, Collaboration, & Innovation, 2021

Source E

“Marian Croak…Became one of the First Black Women to be Inducted Into the Inventors Hall of Fame,” Yoonji Han, Business Insider, 2023

A Legacy of Diverse Representation

After 32 years at AT&T, Croak joined Google in 2014 to spearhead efforts to expand what the internet is capable of around the world. She led a team that brought broadband to developing countries in Asia and Africa, building, for example, public wi-fi in railroad stations in India.

Croak also works on racial justice efforts at Google, and continues to mentor women and young girls in engineering.

As one of the first-ever Black women to be inducted into the National Inventors Hall of Fame, Croak recognizes the importance of diversity in a historically homogenous industry.

"I find that it inspires people when they see someone who looks like themselves on some dimension, and I'm proud to offer that type of representation," Croak said in her interview with Google. "I want people to understand that it may be difficult but that they can overcome obstacles and that it will be so worth it."

Source F

“Sending Your Voice Over the Internet? Some Called It a Toy. Not Marian Croak,” Greta Harrison, USC Viterbi, 2025

Growing up in New York City, she developed her fascination for STEM with the help of some supportive teachers at her local public school.

“The teachers were just phenomenal. I remember having a chemistry teacher who was a woman and she just inspired me so much,” she said.

Her father encouraged this passion, building his daughter her own chemistry set to experiment with.

After attending Princeton University, Croak moved to California and USC to study statistical analysis and social psychology, a unique combination of disciplines that would fortify her fascination with how technology can be shaped to offer a positive impact on human lives.

“I received great mentoring at USC and also appreciated the USC culture, with its large international body of students,” Croak said. “It was an ideal college environment. I think that gaining the understanding of how social groups work together has really helped inform a lot of the engineering that I do.”

Croak caught the attention of a recruiter from Bell Laboratories (later AT&T Bell Laboratories) at a USC career fair in 1982, which helped her secure a graduate role in their Human Factors research division. From there, Croak furthered her study in network engineering and began to forge a career in what at the time was a very male-dominated area.

“But somehow, throughout my life, I didn’t really notice that too much,” she said, “because my personality was very similar to the engineers that I worked with. I’m kind of quiet and introspective, and I’d rather read a book than go to a party. So, independent of the fact that they were male — and yes, mostly white males — I felt like I fit in with them.”

However, Croak’s quiet and introspective personality didn’t stop her from speaking out and taking risks. She recalls a difficult meeting when she was still a young engineer at AT&T Bell Labs, where she highlighted a problem with different divisions of the company that were not communicating with each other. Her honesty did not go down well with the other engineers in the room, and as the meeting came to a tense conclusion, the vice president approached her. She felt immediate dread.

“I thought, Here it goes! But he said, ‘I’m so glad you’re here and you’re willing to share your insights and be honest,’” Croak recalled. “And from that moment on, I was empowered to have a voice.”

Source G

“Shaping the Limitless Possibilities of Dr. Marian Croak,” Google, 2026

Source H

“Marian Croak,” National Inventors Hall of Fame, 2022

During her career, Croak and her team created a text-to-donate system for charitable organizations that first saw widespread use after Hurricane Katrina hit New Orleans in 2005, which raised $130,000. After the 2010 earthquake in Haiti, the technology raised $43 million in donations. Croak joined Google in 2014, where she now is vice president of engineering and leads the Research Center for Responsible AI and Human Centered Technology. She also has led a team bringing broadband to developing countries in Asia and Africa.