Supporting Question

Why does Gladys West’s story matter?

For the formative performance task, use the sources to answer the following questions:

  • What are the important events in this person’s life? What emotions did this person experience throughout their life?

  • What did this person invent? What other inventions have been done in this area?

  • What do we know about the biases this person faced and how they responded? How did their responses compare to other people of their time?

  • How much—if it all—did the person’s life change after their inventions? Did they receive credit for their invention? Did they profit from it?

  • In what ways did this person address social issues of their day?

Featured Sources

Source A

The Magnificent Gladys Mae West, United States Navy Band, 2018

Source B

“Dr. Gladys Mae Brown West,” Cathleen Lewis, Smithsonian: National Air and Space Museum, 2026

Gladys West became a skilled computer programmer during her time at Dahlgren. She worked with satellite data to create accurate models of the Earth’s shape, also known as the geoid. The Earth is not a perfect sphere but has an irregular shape that distorts calculations that assume a spherical shape. As Earth rotates, it bulges out at the equator. West was trying to map the Earth using mathematical approximations. Her work improved the realism of the Earth-geoid model. In turn, her work helped the Navy be more accurate in mapping positions and targeting. It generated a better understanding of the relationship between actual locations and the model locations. West’s work was indispensable for accurate weapons targeting. Her team also studied how these forces from an irregularly shaped Earth can affect orbiting satellite trajectories. The calculations that West and her team conducted contributed to the improved accuracy of targeting on Earth and satellite orbits. The Navy’s work predated similar calculations to make the Global Positioning System (GPS) possible and accurate.

The research at the Dahlgren facility was considered important military research and thus was highly classified. For that reason, West did not acquire the fame that another group of Black women mathematicians who worked for the National Aeronautics and Space Administration not far from Dahlgren in Langley, Virginia, did. Unlike the “Hidden Figures” of NASA, much of Gladys West’s work and significance remain military secrets, even today.

Source C

West being inducted into the Air Force Space and Missile Pioneers Hall of Fame in 2018, Wikipedia, 2026

Source D

“Navy Scientist Helped Develop GPS,” David Vergun, U.S. Department of War, 2024

The Navy hired West — then Gladys Mae Brown — in 1956 as a mathematician to do computer programming and coding at Naval Proving Ground in Dahlgren, Virginia. While there, she met fellow Dahlgren mathematician Ira West, and they married in 1957. 

In the early 1960s, she participated in an award-winning, astronomical study that proved the regularity of Pluto's motion relative to Neptune.  

From the mid-1970s through the 1980s, West used complex algorithms to account for variations in gravitational, tidal and other forces that distort Earth's shape. She programmed the IBM 7030 computer, also known as Stretch, to deliver increasingly refined calculations for an extremely accurate model of the Earth's shape, optimized for what ultimately became the GPS orbit used by satellites.  

Her many awards and recognitions include:

  • Induction into the Air Force Space and Missile Pioneers Hall of Fame in 2018.

  • The Webby Lifetime Achievement Award in 2021.

  • The Prince Philip Medal by the United Kingdom's Royal Academy of Engineering in 2021.

  • The National Museum of the Surface Navy's Freedom of the Seas Exploration and Innovation Award in 2021.

Source E

GPS Pioneer Dr. Gladys West, Adele McClure, The Crown Act, Virginia Currents, PBS, 2020

Note: Use the link to stream a news interview with Gladys West and her husband. We suggest watching from the 0:55 mark to the 12:20 mark. Within the interview, both Gladys and her husband highlight their activism through their positions with the federal government.

Source F

Mathematician Gladys West '00 paves the way for GPS, Virginia Tech, 2023

Source G

Virginia State University Mourns The Passing Of Alumna And Pioneering Mathematician Dr. Gladys West,” Makola M. Abdullah, 2026

Trojan Family,

It is with great sadness that we share the passing of Virginia State University alumna Dr. Gladys West, a pioneering mathematician whose work laid the foundation for the Global Positioning System (GPS). Known as a hidden figure in the development of GPS, Dr. West’s brilliance, perseverance, and quiet determination transformed the modern world in ways most of us experience every day. Her life reflects the Greater of what it means to be a Trojan.

A proud two-time graduate of Virginia State University, Dr. West earned her bachelor’s degree in mathematics in 1952, her master’s degree in mathematics in 1955, and an honorary doctorate in 2021 in recognition of her extraordinary achievements and lasting legacy. Born into a farming family in rural Virginia, she understood from an early age that education would be the key to creating opportunities for herself and for future generations. Dr. West’s life story is one of defying the odds at every turn. From an era where opportunities were often closed off to Black people, especially Black women, she not only earned an education but went on to become a trailblazer in the field of mathematics. As an alumna of Virginia State University, Dr. West won the award for Female Alumna of the Year at the Historically Black Colleges and Universities Awards in 2018.

After completing her degrees, Dr. West became one of the first African American women hired as a mathematician at what is now the Naval Surface Warfare Center. There, she helped develop the mathematical models of the Earth that made GPS technology possible. Her contributions, often conducted behind the scenes, have had a lasting and global impact.

Dr. West will be remembered not only for her groundbreaking work in science and technology but also for the example she set for generations of students, especially those from historically underrepresented communities. Her life’s work stands as a powerful testament to the role HBCUs like Virginia State University play in nurturing innovators, leaders, and change-makers.

The Virginia State University administration extends its deepest sympathies during this time of loss. We join the Trojan family and the world in honoring Dr. West’s life, achievements, and enduring impact. Her brilliance and determination will continue to guide and inspire all of us who follow in her footsteps.

Sincerely,

Makola M. Abdullah, Ph.D.

President

Source H

Tributes from James Howard, director of the Black Inventor’s Hall of Fame, 2026.

Gladys West acceptance speech into the Black Inventors Hall of Fame, May 30, 2021

Dr. Gladys West Induction to the Black Inventor’s Hall of Fame
James Howard

Use the link to watch a video of Gladys West’s acceptance speech into the Black Inventors Hall of Fame, May 30, 2021

Source I

How does GPS work?, NASA Space Place, 2014

Note: This video explains GPS, which West’s work was influential in creating.

Source J

U.S. Patent 5,379,224, “GPS Tracking System,” 1995

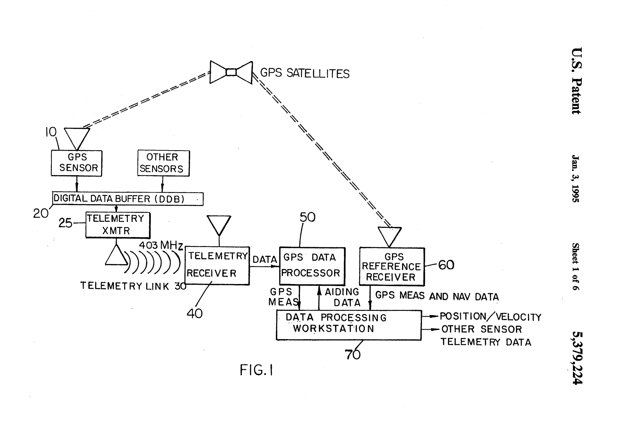
FIG. 1 shows the main parts of the GPS tracking system and how they fit together.

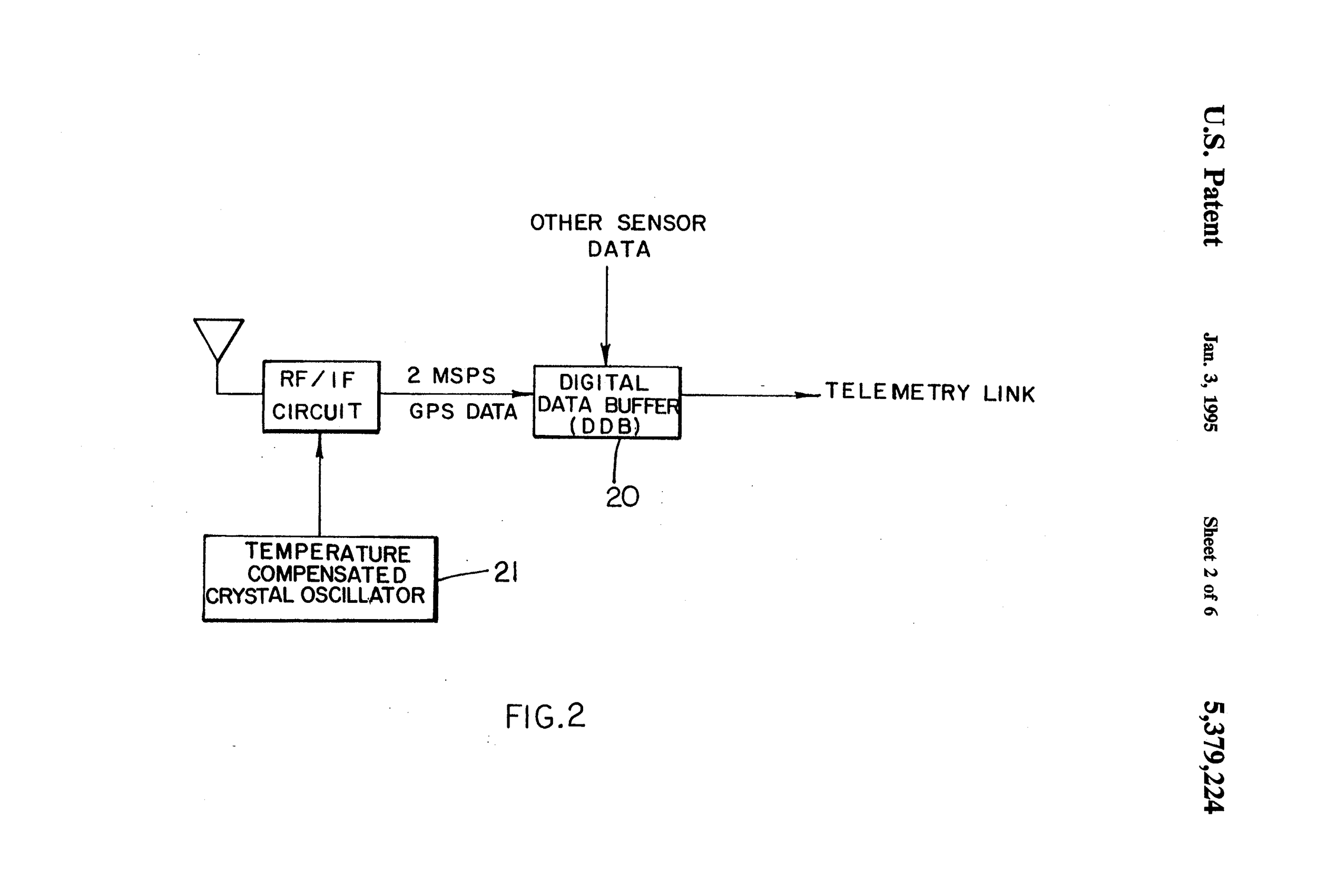
FIG. 2 shows the design of the sensor used in the tracking system.

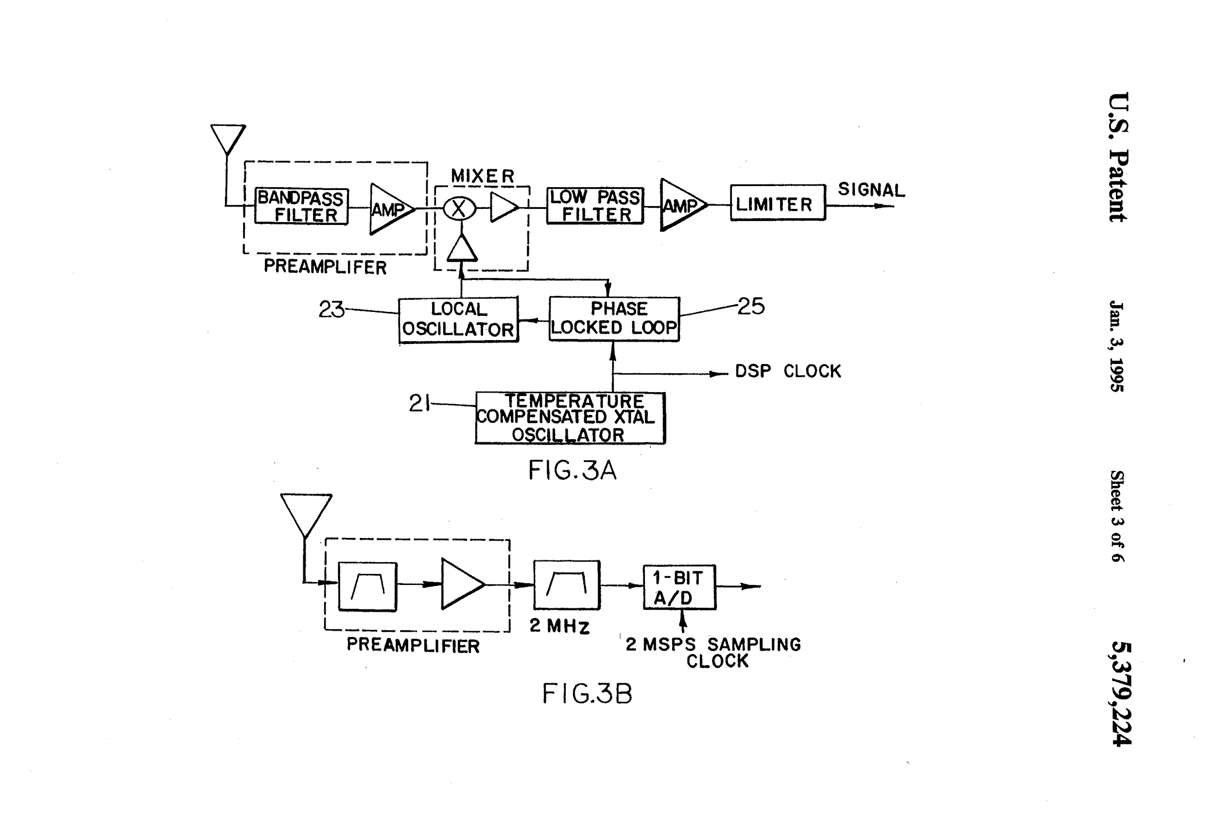
FIG. 3B shows another way the sensor’s radio signal section can be built.

FIG. 5 shows the steps used to figure out GPS measurements from collected data.

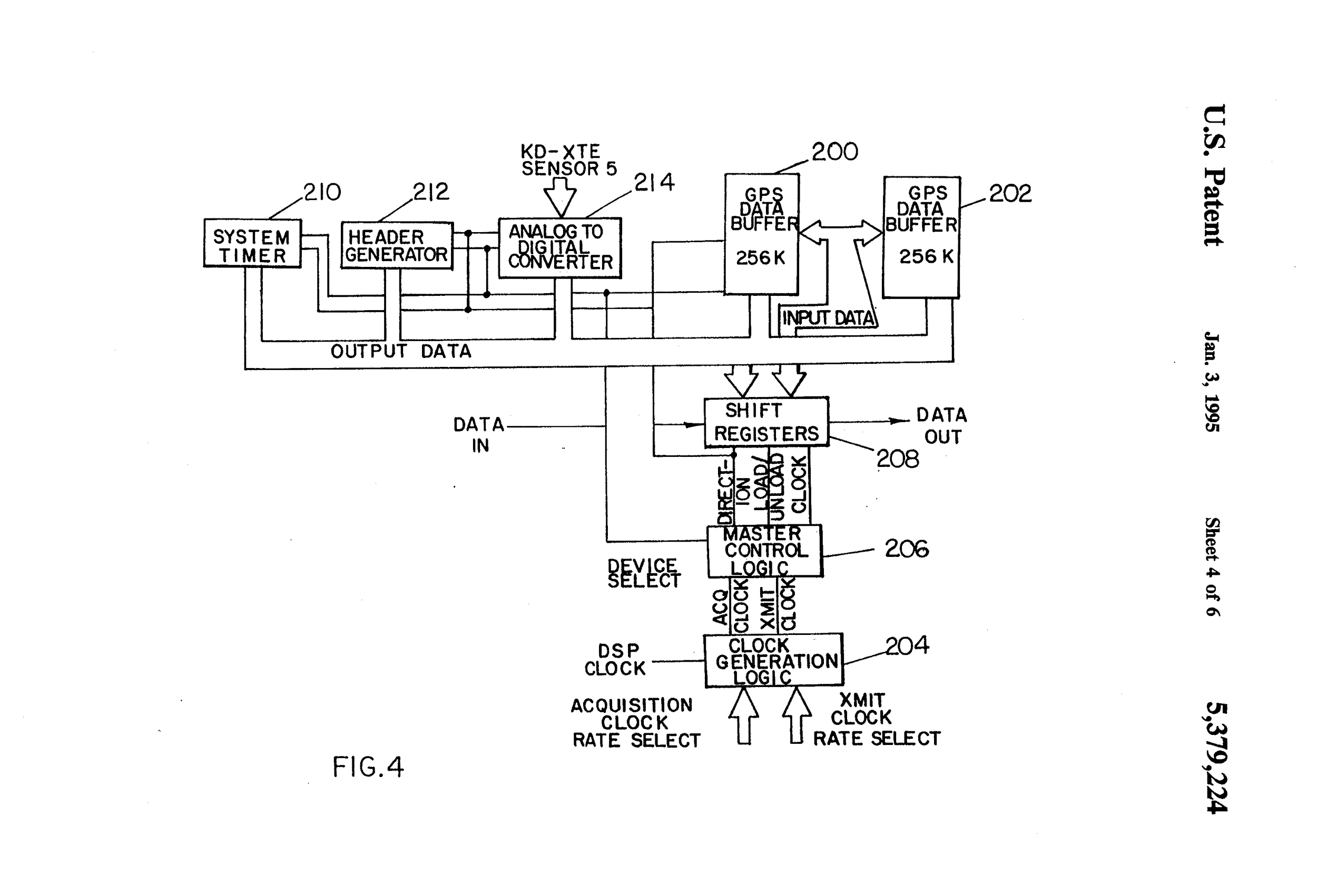
FIG. 4 shows the part of the sensor that stores digital data.

FIG. 6 shows the steps of a fast method used to process signals and do calculations in the system.